全国高端外围经纪人预约团队,200块三小时服务,附近喝茶,微信二维码200叫小妹

收藏本站在线留言网站地图远东泵业-您身边值得信赖的工业泵制造厂家!
服务热线:
电话 020-82375311

热门关键词:树脂泵泊头齿轮泵沥青泵燃油输送泵船用货油泵

首页 » 远东资讯中心 » 远东动态 » 如何安装和调试高粘度内齿泵双端面机械密封

如何安装和调试高粘度内齿泵双端面机械密封

返回列表来源:远东泵业 发布日期 2017-12-02 09:35 浏览:-

在很多复杂的化工场合,比如易燃易爆,强腐蚀,易污染,或者含颗?;蛘呦宋鹊取S没С艘蟊靡锏焦娑ǖ募际醪问酝?,还对密封提出特别的要求,要求尽量做到“滴液不漏”!这种情况我们可以考虑选择磁力密封和双端面机械密封。由于磁力密封造价昂贵,很多用户为了降低生产成本,不愿意选用。其实双端面机械密封也是比较理想的选项,因为它的价格相对要便宜,而且安装和使用如果符合要求的话,也能基本做到“滴液不漏”!那么如何才能正确安装和调试双端面机械密封呢?下面我以高粘度转子泵NYP-220B选用双端面机械密封为例,进行说明:

工况条件:介质名称:沥青含石粉磨料,温度:220度,流量:20m3/h,压力:0.8MPa。

分析:沥青含石粉,属于高温易磨损的工况,对密封要求比较高。一般单端面机械密封或者填料密封很快就会磨损失效,而且沥青低温或者遇到空气会凝固,将密封面粘死,导致密封失效。根据以上工况条件,应该选择双端面机械密封,摩擦副选择硬质合金的,比较耐磨。

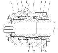
高粘度内齿轮泵密封

双端面机械密封结构简图

如图所示,件2-3和件6-7摩擦副应该选择硬质合金材质的?;得芊馍系母ㄖ芊庥Ω醚≡穹鸾旱?,密封效果好且耐高温。密封函内应该加入导热油或者其它密封冷却液。从加油孔4处连接到储液罐。储液罐内要保持一个恒定的压力,保持密封面的内侧和外侧的压力基本平衡。这样使得密封面的内外的压差很小,大限度的减少了漏液的可能。

高粘度泵双端面机械密封

储液罐安装示意图

储液罐内的压力怎么确定呢?首先要测量一下密封函内在工作状态的压力,(注意,密封函内的压力跟泵出口的压力是不一样的)。然后确定储液罐内的压力,略高于密封函压力0.05--0.15MPa比较合理。储液罐的安装位置,要高于泵头1.5--2.0米为好。这样始终保持密封函内充满液体。

nyp高粘度泵

远东泵业NYP-220B高粘度内齿泵配套储液罐安装图片

过这样合理安装与调试,双端面机械密封用于泵行业的实例就圆满的完成了。并且经过多年的实际应用,证明效果非常好,密封寿命也能提高很多。

远东泵业30多年来一直坚持为客户创造价值!

我们在努力了解您的需求,远东泵业提供给您的不仅仅是产品,还有的流体输送解决方案。为你解决流体输送的难题,让你省心又省力!如果有任何关于流体输送泵的疑问,请立即拨打远东泵业免费咨询热线:020-82375311,我们会为您提供贴心的服务!

远东泵业官网微信全国服务热线:020-82375311
联系电话:020-82375311
传真:020-82386622
联系QQ:2853715911点击这里给我发消息
公司地址:广州市黄埔区黄埔东路621号

推荐阅读

【本文标签】:高粘度内齿泵 nyp高粘度内齿泵

【责任编辑】:远东泵业 版权所有:http://lrryh.v6ts.cn/转载请注明出处

最新资讯

1heavy oil pump 重油泵NYP320内啮合齿轮泵

2润滑脂高温螺杆泵SNH660R46U12.1W21三螺杆泵

3石蜡油输送泵RCB-20/0.6夹套保温不锈钢齿轮泵

4电子导热灌封胶输送泵NYP110RUT2W51G不锈钢高粘度泵流量5m3/h

5炔螨特原油输送泵RCB-8/1.2不锈钢夹套保温齿轮泵

6渣油泵Residual oil gear pumpConveying viscosity 380cst

7原油输送齿轮泵2CG-58/1.0防爆齿轮油泵

8锤度80-90Bx糖蜜输送泵NYPG115RUT3W11G高粘度泵

9聚脲彩砂美缝剂输送泵/环氧彩砂美缝剂输送泵

10VAE乳液输送泵W6Kse-90M1W77不锈钢双螺杆泵

全国服务热线020-82375311