来源:远东泵业 发布日期
2019-06-28 09:32 浏览:-HGY型立式管道离心油泵是新研制而成的新型产品。该型泵用于输送不含固体颗粒的化工、石油类液体,如汽油、煤油、柴油、航空煤油及有腐蚀性的液体。被输送的介质温度为-20℃—350℃,是理想的化工及石油化工流程泵,也适用于卸槽、灌装油罐汽车,油桶及油品的中转等。

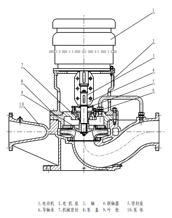
HGY型化工、石油管道泵为立式离心结构。设计、制造符合API610《一般炼油厂用离心泵》标准和GB3215-82《炼油化工及石油化工流程用离心泵通用技术条件》的有关规定。泵主要由泵体、叶轮、泵盖、轴封与电机座等零部件组成,结构如图一所示。泵正常起动后,叶轮高速旋转,液体从吸入口吸入,在离心力的作用下,液体从泵出口排出,完成输液过程。



HYG/HGY系列立式管道油泵
口径:DN40管道离心油泵
40HGY15 40HGY15A 40HGY25 40HGY25A 40HGY40 40HGY40A 40HGY60 40HGY60A
口径:DN50管道离心油泵
50HGY20 50HGY20A 50HGY40 50HGY40A 50HGY60 50HGY60A 50HGY95 50HGY95A
口径:DN65管道离心油泵
65HGY12 65HGY12A 65HGY20 65HGY20A 65HGY32 65HGY32A 65HGY50 65HGY50A 65HGY95 65HGY95A 65HGY95B
口径:DN80管道离心油泵
80HGY15 80HGY15A 80HGY25 80HGY25A 80HGY32 80HGY32A 80HGY50 80HGY50A 80HGY80 80HGY80A 80HGY125 80HGY125A 80HGY150 80HGY150A 80HGY150B 80HGY200 80HGY200A
口径:DN100管道离心油泵
100HGY25 100HGY25A 100HGY40 100HGY40A 100HGY60 100HGY60A 100HGY95 100HGY95A 100HGY125 100HGY125A 100HGY150 100HGY150A 100HGY200 100HGY200A
口径:DN125管道离心油泵
125HGY32 125HGY32A 125HGY50 125HGY50A 125HGY80 125HGY80A 125HGY125 125HGY125A 125HGY150 125HGY150A 125HGY200 125HGY200A
口径:DN150管道离心油泵
150HGY25 150HGY25A 150HGY40 150HGY40A 150HGY60 150HGY60A 150HGY95 150HGY95A 150HGY150 150HGY150A
口径:DN200管道离心油泵
200HGY25 200HGY25A 200HGY40 200HGY40A 200HGY60 200HGY60A 200HGY95 200HGY95A 200HGY125 200HGY125A 200HGY200 200HGY200A
口径:DN250管道离心油泵
250HGY25 250HGY25A 250HGY40 250HGY40A 250HGY60 250HGY60A 250HGY95 250HGY95A 250HGY150 250HGY150A 250HGY175 250HGY175A
GY系列立式管道油泵
口径:DN40管道离心油泵
40GY15 40GY15A 40GY25 40GY25A 40GY40 40GY40A 40GY60 40GY60A
口径:DN50管道离心油泵
50GY20 50GY20A 50GY40 50GY40A 50GY60 50GY60A 50GY95 50GY95A
口径:DN65管道离心油泵
65GY12 65GY12A 65GY20 65GY20A 65GY32 65GY32A 65GY50 65GY50A 65GY95 65GY95A 65GY95B
口径:DN80管道离心油泵
80GY15 80GY15A 80GY25 80GY25A 80GY32 80GY32A 80GY50 80GY50A 80GY80 80GY80A 80GY125 80GY125A 80GY150 80GY150A 80GY150B 80GY200 80GY200A
口径:DN100管道离心油泵
100GY25 100GY25A 100GY40 100GY40A 100GY60 100GY60A 100GY95 100GY95A 100GY125 100GY125A 100GY150 100GY150A 100GY200 100GY200A
口径:DN125管道离心油泵
125GY32 125GY32A 125GY50 125GY50A 125GY80 125GY80A 125GY125 125GY125A 125GY150 125GY150A 125GY200 125GY200A
口径:DN150管道离心油泵
150GY25 150GY25A 150GY40 150GY40A 150GY60 150GY60A 150GY95 150GY95A 150GY150 150GY150A
口径:DN200管道离心油泵
200GY25 200GY25A 200GY40 200GY40A 200GY60 200GY60A 200GY95 200GY95A 200GY125 200GY125A 200GY200 200GY200A
口径:DN250管道离心油泵
250GY25 250GY25A 250GY40 250GY40A 250GY60 250GY60A 250GY95 250GY95A 250GY150 250GY150A 250GY175 250GY175A
口径:DN300管道离心油泵
300GY60 300GY60A 300GY95 300GY95A 350GY60 350GY60A 350GY100 350GY100A
口径:DN400管道离心油泵
400GY40 400GY40A 400GY60 400GY60A 400GY100 400GY100A 400GY150 400GY150A 400GY240 400GY240A
口径:DN500管道离心油泵
500GY40 500GY40A 500GY60 500GY60A 500GY100 500GY100A
远东泵业30多年来一直坚持为客户创造价值!
我们在努力了解您的需求,远东泵业提供给您的不仅仅是产品,还有的流体输送解决方案。为你解决流体输送的难题,让你省心又省力!如果有任何关于流体输送泵的疑问,请立即拨打远东泵业免费咨询热线:020-82375311,我们会为您提供贴心的服务!
全国服务热线:020-82375311
联系电话:020-82375311
传真:020-82386622
联系QQ:2853715911
公司地址:广州市黄埔区黄埔东路621号
【本文标签】:HGY便拆式管道油泵 立式管道油泵 防爆立式管道油泵
【责任编辑】:远东泵业 版权所有:http://lrryh.v6ts.cn/转载请注明出处